Motorcycle Tools

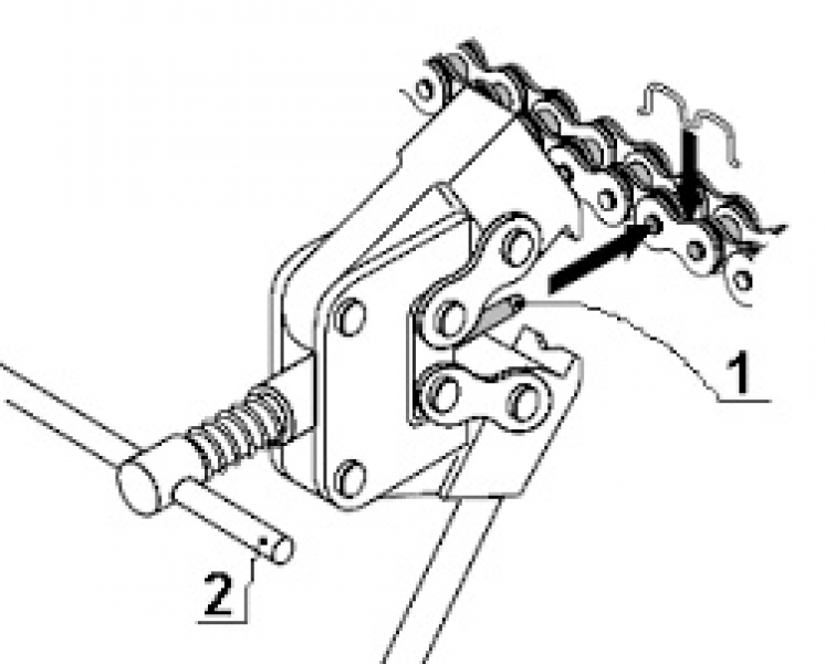
ROLLER CHAIN BREAKER

ROLLER CHAIN BREAKER
Product Code:B214
Quantity:
Pricing NTD$0

Special offer NTD$

add to Cart
I want to buy

Size: W160*D21*H75mm. Weight: 290g.
Handle length: 150mm. Center pin diameter: φ3mm.
Opening width: ~18mm.
Corresponding chain size: 25~60mm.